8-800-700-43-53, +7 (3852) 59-26-06 c 9:00 до 18:00 Пн-Пт (+4 Москва)
SALES@KIPPRIBOR.RU
ТелеграмВконткте



Скачать
Скачать

Скачать

Скачать
Скачать


Регуляторы напряжения в стандартном корпусе для монтажа на радиатор

Регуляторы напряжения трехфазные серии RPS33, RPS34

Серия RPS трехфазное малогабаритное твердотельное реле ТТР KIPPRIBOR

Прайс-лист

Регуляторы напряжения KIPPRIBOR серии RPS33, RPS34 предназначены для бесступенчатого регулирования напряжения трехфазной нагрузки резистивного типа в цепях переменного тока.  

Используются для управления мощностью нагрузки резистивного типа: нагревательных элементов, ламп накаливания.


Отличительные особенности регуляторов RPS33, RPS34

  • Линейная выходная характеристика.
  • Управляющий сигнал: универсальный (ток/напряжение/сопротивление).
  • Тип нагрузки: резистивная.
  • Род тока питающей сети: переменный.
  • Номинальный ток регуляторов в серии: до 110 А.
  • Номинальное напряжение питания нагрузки: 220/380 VAC.
  • Схема подключения нагрузки: трехпроводная для RPS33, четырехпроводная для RPS34.
  • Диапазон регулирования напряжения нагрузки: от 10 В до напряжения питающей сети.

Конструктивные особенности трехфазных регуляторов серии RPS33, RPS34

  • Cимисторный выходной силовой элемент — регуляторы с максимальным током до 40 А, тиристорный – регуляторы с максимальным током 75 и более ампер.
  • Встроенная шунтирующая выход RC-цепочка защищает регулятор от импульсных помех, возникающих в сети.
  • Клеммник с винтовыми зажимами для подключения дополнительного питания и управляющих сигналов.
  • Изготовлены в стандартном корпусе нового образца, для монтажа на радиаторы охлаждения >>>

ВНИМАНИЕ! В связи с наличием внутренней RC-цепи в силовой цепи регулятора даже при минимальном управляющем сигнале либо его отсутствии присутствует ток утечки, который зависит от параметров нагрузки.
При снижении управляющего сигнала до минимума, обрыве или отсутствии управляющего сигнала на выходе ТТР на нагрузке может присутствовать напряжение до 10 VAC.


Технические характеристики повышающих регуляторов серий RPS33, RPS34

Технические характеристики входных цепей

Параметр Значение
Тип управляющего сигнала

- Ток: 4…20 мА (входное сопротивление ≤250 Ом)

- Напряжение: 0…5 В (входное сопротивление ≥10 кОм)

- Напряжение: 0…10 В (входное сопротивление ≥10 кОм)

- Сопротивление: потенциометр 10 кОм / 1 Вт

Дополнительное питание Требуется питание от внешнего источника 220 В / 0,01 А переменного тока

Технические характеристики выходных цепей

Параметр Значение
Модификация RPS33-2544.VAR
RPS34-2524.VAR
RPS33-4044.VAR
RPS34-2540.VAR
RPS33-7544.VAR
RPS34-7524.VAR
RPS33-10044.VAR
RPS34-10024.VAR
RPS33-12544.VAR
RPS34-12524.VAR
RPS33-15044.VAR
RPS34-15024.VAR
RPS33-18044.VAR
RPS34-18024.VAR
Номинальный ток регулятора, А 15 24 45 60 75 90 110
Тип выходных силовых элементов Симистор Тиристор
Тип питающей сети Трехфазная
Род тока питающей сети Переменный
Номинальная частота питающей сети, Гц 50
Метод регулирования Фазовое управление симистором/тиристором
Минимальный коммутируемый ток, А 0,1
Диапазон регулирования напряжения От 10 до напряжения питающей сети
Максимальное напряжение питающей сети, VAC 440
Номинальное напряжение питания нагрузки, VAC 220/380
Допустимое отклонение выходного напряжения, VAC ± 5
Максимальный импульс тока во включенном состоянии (≤ 10мс), А 200 320 600 800 1000 1200 1440
Максимальное пиковое напряжение, VAC 800 1600
Ток утечки в закрытом состоянии, мА ≤ 10
Падение напряжения в коммутируемой цепи во включенном состоянии, VAC ≤ 3
Скорость нарастания тока (di/dt), А/мкс 50 120
Скорость нарастания напряжения в закрытом состоянии (dV/dt), В/мкс 500 1000
I2t (<10 мс), А2с\ 280 1180 6170 8230 10285 14880 17860
Тепловое сопротивление переход – основание (Rthjc), °С/ Вт 1,27 1,15 0,67 0,41 0,32 0,27 0,2
Максимальная температура p-n перехода (Tjmax), °С 125
Мощность рассеивания (Dissipation), Вт/А 3*1,15 3*1,13 3*1,04 3*0,98 3*0,93 3*0,88 3*0,83
Электрическая прочность изоляции, VAC 2000
Сопротивление изоляции, МОм (500 VDC) 100

Общие технические характеристики

Параметр Значение
Степень защиты IP20
Температура окружающей среды (эксплуатация), °С -20…+50
Температура окружающей среды (хранение) , °С -25…+85
Относительная влажность окружающей среды (эксплуатация, хранение), % 20…90
Органы индикации LED-индикаторы «Вкл.», «Выход», «Авария»
Встроенные защиты - RC-цепь защиты силового ключа
- Защита от перегрева (температура срабатывания встроенного датчика 90°С)
Охлаждение Воздушное
Материал основания Алюминиевый сплав (модификации 25…40 А)
Медный сплав (модификации 75…180 А)
Тип монтажа Крепление винтами на плоскость
Масса, г ≤ 440 (модификации 25 …40 А)
≤ 580 (модификации 75…180 А)

Модификации и номинальные токи регуляторов серий RPS33, RPS34

Модификация регулятора Модификация радиатора KIPPRIBOR серии PTP Номинальный ток регулятора, А Максимальная мощность нагрузки, кВт Позиция
RPS34-2524.VAR, RPS33-2544.VAR PTP034 15 9,8 Складская
RPS34-4024.VAR, RPS33-4044.VAR PTP036 24 16 Складская
RPS34-7524.VAR, RPS33-7544.VAR PTP037 45 29 Складская
RPS34-10024.VAR, RPS33-10044.VAR PTP038 60 38 Складская
RPS34-12524.VAR, RPS33-12544.VAR PTP039 75 48 Складская
RPS34-15024.VAR, RPS33-15044.VAR PTP038 с вентилятором KIPPRIBOR VENT-12038.220VAC.5MSHB 90 58 Складская
RPS34-18024.VAR, RPS33-18044.VAR PTP038 с вентилятором KIPPRIBOR VENT-12038.220VAC.5MSHB 110 72 Складская

Зная мощность нагрузки, выберите ближайшую большую по мощности модификацию регулятора и указанный для этой модификации радиатор.

Внимание!

Рекомендации по величине номинальных токов актуальны только при нормальных условиях эксплуатации:

  • температура окружающего воздуха 23...25°C;
  • номинальное напряжение питания нагрузки;
  • регулятор установлен на рекомендуемой модели радиатора;
  • радиатор оснащен рекомендуемой моделью вентилятора.

Габаритные и установочные размеры регуляторов серии RPS33, RPS34

Габаритные и установочные размеры регуляторов серии RPS3x

Размер резьбы Момент затяжки, Н*м
M3 0.4
M6 2.5

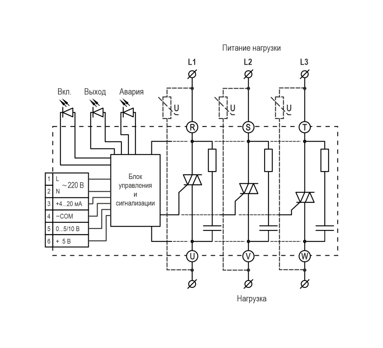
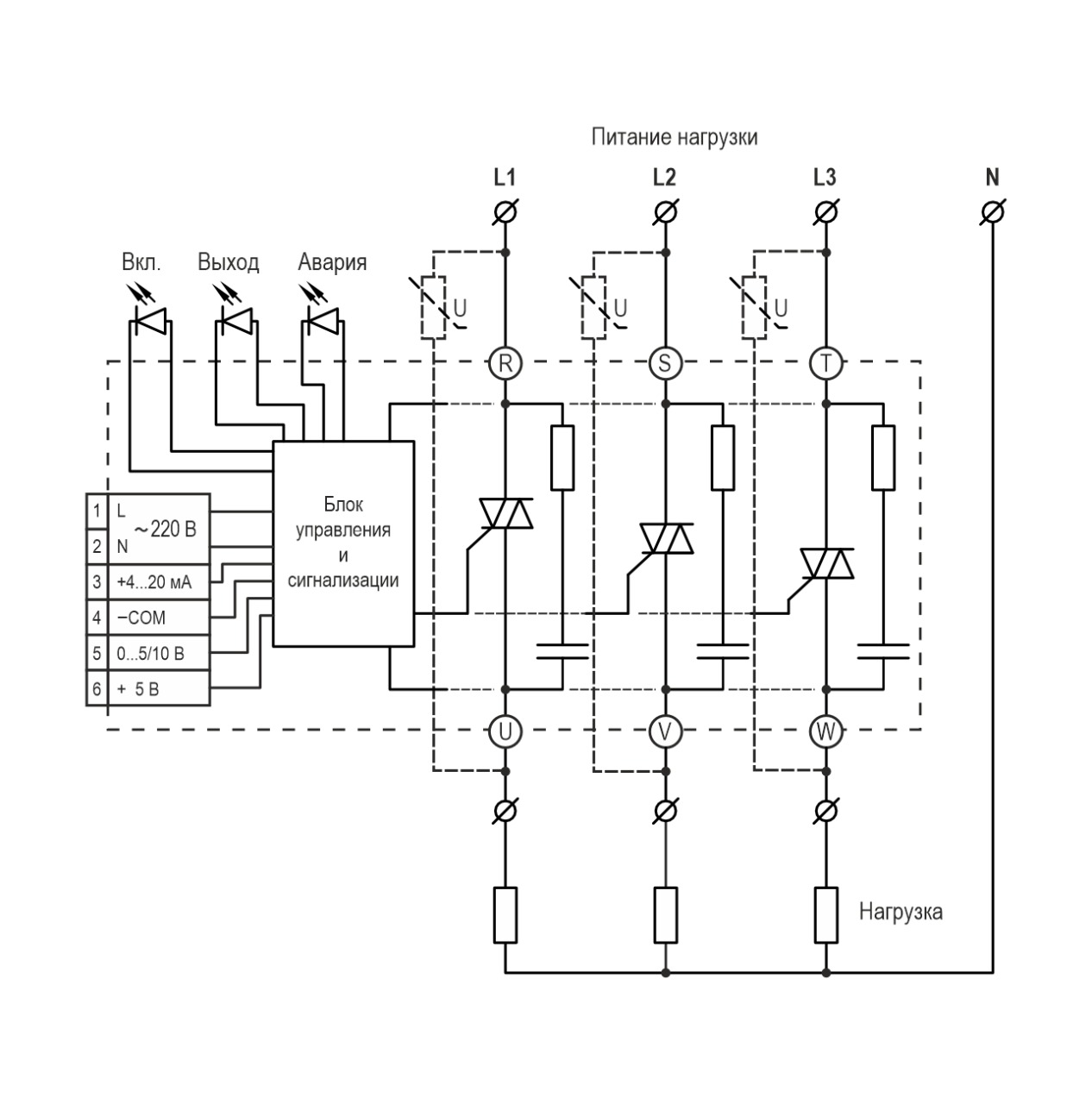
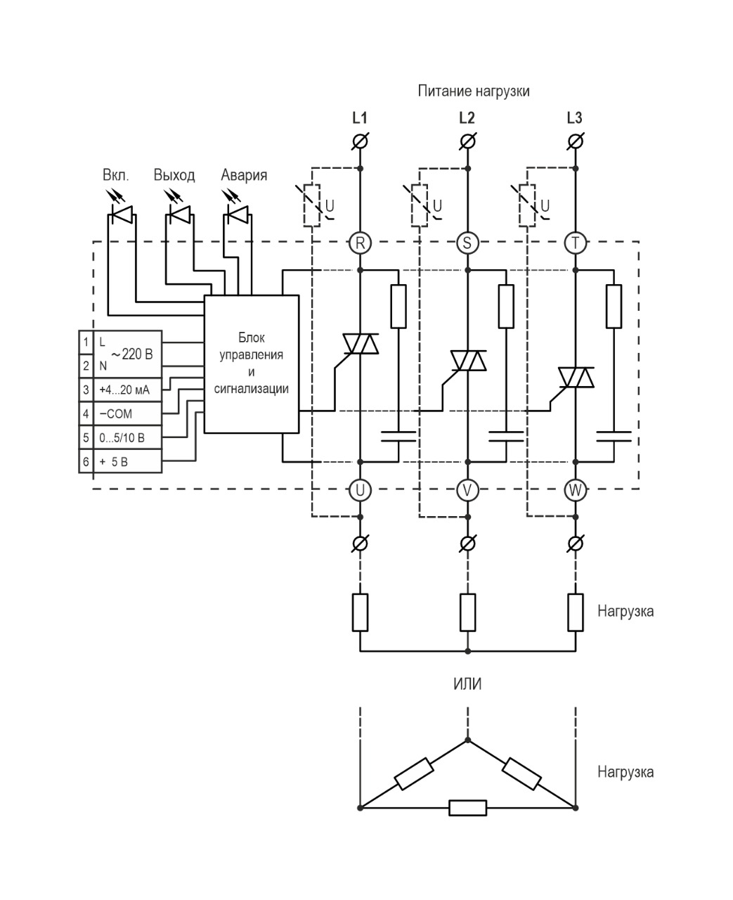
Схемы подключения силовых цепей повышающих регуляторов RPS33, RPS34

Схемы подключения силовой цепи регуляторов серии RPS33, RPS34 на базе симисторов Схемы подключения силовой цепи регуляторов серии RPS33, RPS34 на базе тиристоров
регуляторы серии RPS33 регуляторы серии RPS34

Внимание!

Для регуляторов серии RPS33 не допускается подключение нейтрали к нагрузке при соединении по схеме звезда.

*Схемы подключения приведены на примере модификаций с силовым ключом на базе симистора.


Схемы подключения цепей управления и внешнего источника питания регуляторов серий RPS33, RPS34

Схемы подключения цепей управления и внешнего источника питания      регуляторов RPS33, RPS34 Схемы подключения цепей управления и внешнего источника питания      регуляторов RPS33, RPS34
Управляющий сигнал – напряжение 0…5 В Управляющий сигнал – напряжение 0…10 В
Схемы подключения цепей управления и внешнего источника питания      регуляторов RPS33, RPS34 Схемы подключения цепей управления и внешнего источника питания      регуляторов RPS33, RPS34
Управляющий сигнал – ток 4…20 мА Управляющий сигнал – сопротивление (потенциометр 10 кОм/1 Вт)

Внимание!

При подключении внешнего дополнительного питания к регуляторам RPS34-xx24.VAR следует соблюдать фазировку. При неправильной фазировке питания регулятор находится в состоянии аварии.


Общие рекомендации

  • — Для эффективного охлаждения регулятора следует использовать радиатор.
  • — При установке на радиатор использовать термопасту.
  • — Для защиты от высоковольтных импульсных помех рекомендуется подключение варисторов в каждой фазе регулятора.

Схемы подключения цепей управления и внешнего источника питания регуляторов RPS12


Обозначение при заказе регуляторов серии RPS33, RPS34

СУО RPS34, RPS33

Например: RPS33-2544.VAR

Вы заказали: регулятор KIPPRIBOR серии RPS33 с максимальным током 25 А, максимальным напряжением питания 440 VAC, с универсальным управляющим сигналом.


© 2008-2026 Kippribor
8 800 700-43-53, +7 (3852) 59-26-06, sales@kippribor.ru  Политика конфиденциальности